Cooling System

Your cooling system is one of the systems in the car that need constant maintenance in order to prolong engine life. Sediment buildup in your block can prevent proper cooling even though your water pump, radiator and thermostat are operating normally.

Two 1500 G-series blocks were torn down for inspection recently and some alarming observations were made. One block had cracked and the owner was disappointed because all the receipts from the previous owner showed many new parts including cylinder head, rods, pistons, bearings, water pump and oil pump.

The engine ran well but seemed to run hot, and intermittently it ran poorly. The cracked block was easily repaired by a new procedure that stitches the crack by drilling holes, threading the wire through and repairing the crack - which was on the intake side.

Before sending the block out for this procedure, we stripped it of all items. One item was the drain cock on the left side of the block blk16-10.gif - 7.3 K

(The figure shows a 1.6 litre block with the the cock as # 59; after engine # R-40001 it was replaced by # 60, a drain plug).

The block was sitting level on the bench and yet nothing came out. I then popped out the frost plug immediately above the drain cock (the figure shows the frost plug at the back of the block as part #12) and some murky, rusty fluid poured out. The cooling system was not circulating in the passages leading to the drain cock; this directly affected the cooling of the number three piston. This engine had paperwork to substantiate a rebuild - yet no new frost plugs had been installed and the block had not been flushed!

A clean passageway internally allows the coolant to circulate completely throughout the block. This in turn allows the coolant to absorb the heat produced which is then dissipated through the fins of the radiator. The thermostat regulates the flow of the circulating coolant. Running without the thermostat means that the coolant has no opportunity to absorb the heat so your coolant remains cool due to fast circulation but the block runs hot because the heat is not dissipating.

A good radiator will dissipate the heat evenly. A test to check its efficiency is to run the car to operating temperature and spray water on the front face of the radiator. If the radiator is good, the water will evaporate at an even rate leaving no wet spots. Spotty wet sections show clogged or inefficient sections of the radiator. radlat10.gif - 11.7 K

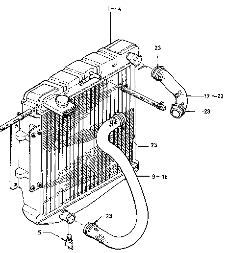
The figure shows as #1~4 a radiator typical of the various versions supplied; #23 shows the older type clamps for the various upper (#17~22) and lower (#9~16) hoses supplied over the production life of the Roadster. #5 shows the drain cock at the bottom of the radiator.

Did you know that with a good heater core you can drop the engine temperature by five degrees F? This allows the heat to be dissipated by a smaller radiator.

Radiator hoses are an important part of the cooling system. Some aftermarket hoses will only bend to the right shape with a metal wire inside. These are OK if you flush your coolant system every 2 years or more. The problem is that they tend to corrode and add to the sediment build up which clogs the cooling passages in the block.

Factory hoses are still available and there are many to chose from as Nissan was continually improving and revising the cooling system. Serial numbers will help break down which hose is supposed to fit. Many cars have a radiator different from the one it originally came with, so finding the right bottom hose can sometimes be a challenge.

Top radiator hoses are simple to fit, but the angle of the lower radiator hose tube varies as does the size and location of the radiator. Other hoses which should be inspected for cracks, kinks, binding and rub marks are the bypass hose for the intake manifold and the heater core hoses.

The benefit of the Nissan black braided hoses is that you can normally tell their condition by a visual check as they fade and fray as they age. Aftermarket ones swell and appear bloated.

Original hose clamps, although pretty, are not as good as modern clamps which bind and seal much better. The original two wire clamp has a tendency to cut into the hose, whereas the band style spreads the load over a greater area.

The fan shroud and air deflector are items that people tend to leave out. This is not a good idea. Both are there to enhance the cooling system and lack of either makes your system less efficient.

Did you know that the coolant that runs through the intake manifold is there to heat the fuel and not cool it?

The rest of this Tip (see below) was expanded in late April 1997.

An aluminum head, a cast iron block and some steel parts create conflict in a cooling system. and are a good recipe for electrolysis; just ask anyone who has tried to remove his aluminum thermostat housing on those cast iron studs recently. The alumium housing welds itself to the steel studs and only careful deliberate work will separate the two. This is a sure sign that the system has not been flushed regularly and that the thermostat has not been replaced at regular intervals.

Whenever we service the cooling system and replace the thermostat we coat the dissimilar surfaces with liberal quantities of a non-sieze product such as Never Seize; the next person who services the system appreciates not suffering three hours of frustration in having to remove a siezed housing on the studs. We sometimes have to drill little pilot holes up and down each stud housing before soaking them with penetrating fluid to help separate the bonded parts. Heat also helps release the grip of electrolysis.

You need antifreeze to impede the electrolysis which happens in your block. The mixture of antifreeze to water in your cooling system will be determined by where you live and when you drive your car.

We recommend reverse flushing and replacing the thermostat and antifreeze once a year on all Datsun Roadsers. One hour and $20 a year flushing the cooling system can save you lots of trouble!


Return to Technical Information


©1996-2004, Sports Imports. All Rights Reserved. Do not duplicate or redistribute in any form.